Answer
Dec 21, 2022 - 12:39 PM
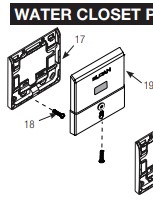
Thank you for your question. The set screw is at the bottom and is removed with an allen wrench. Please see attached photos for guidance. You may also contact Sloan tech support for further assistance if needed (888-756-2614).
Please don't hesitate to reach out to us directly with any further questions: customerservice@prodryers.com or (888-503-7937). Thank you!
Please don't hesitate to reach out to us directly with any further questions: customerservice@prodryers.com or (888-503-7937). Thank you!
ProDryers.com Answers